Dispositivo di avviamento MS 391

Dispositivo di avviamento Motoseghe a benzina (MS) MS 391 della marca STIHL
PAga in tre rate con Klarna
PAga in tre rate con Klarna
PAga in tre rate con Klarna black
Produttore:: STIHL

In caso di ordine dei ricambi ricordati di inserie nel campo "note varie" in fase di inserimento dei tuoi dati di spedizione, anche IL NUMERO DI SERIE DELLA TUA MACCHINA..

...Solo così potrai permettere al nostro staff di spedirti i RICAMBI CORRETTI per la tua macchina 
(in alternativa scrivi l'anno di acquisto della macchina , foto del ricambio ecc.)

...In caso di mancata trasmissione di tali informazioni, saremo costretti ad applicare una penale del 20% sul valore del ricambio in caso di richiesta di rimborso o della sostituzione.

ATTENZIONE: Se non immediatamente disponibili, le tempistiche sono di 5-10 GIORNI LAVORATIVI.

ATTENZIONE: Se nella lista sotto non compaiono i relativi ricambi riportati nell'esploso

...significa che  non è possibile più acquistarli in quanto NON PIU' FORNIBILI E/O OBSOLETI

In caso di ordine di ricambi per il tuo prodotto Motoseghe a benzina (MS) MS 391 della Stihl, per permettere al nostro staff di spedirti i ricambi corretti, inserire, nella pagina finale del carrello nel campo Note varie, anno della macchina e, se disponibile, il suo numero di matricola.

In caso di ordine di ricambi per il tuo prodotto Motoseghe a benzina (MS) MS 391 della Stihl, per permettere al nostro staff di spedirti i ricambi corretti, inserire, nella pagina finale del carrello nel campo Note varie, anno della macchina e, se disponibile, il suo numero di matricola.

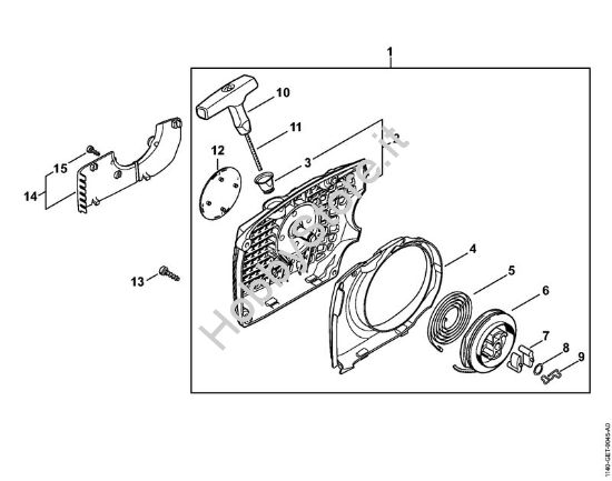
1 Carenatura ventola con dispositivo di avviamento
Ricambio Carenatura ventola con dispositivo di avviamento Motoseghe a benzina (MS) MS 391 STIHL Contiene anche i ricambi da n. 2 a 12
€120,93 IVA inc.
Spedire a
*
*
Metodo di spedizione
Nome
Stima di spedizione
Costo
Stima Spedizione non possibile
+ -
2 Carenatura ventola
Ricambio Carenatura ventola Motoseghe a benzina (MS) MS 391 STIHL Contiene anche i ricambi n. 3
€50,05 IVA inc.
Spedire a
*
*
Metodo di spedizione
Nome
Stima di spedizione
Costo
Stima Spedizione non possibile
+ -
3 Boccola
Ricambio Boccola Motoseghe a benzina (MS) MS 391 STIHL
€5,56 IVA inc.
Spedire a
*
*
Metodo di spedizione
Nome
Stima di spedizione
Costo
Stima Spedizione non possibile
+ -
4 Segmento
Ricambio Segmento Motoseghe a benzina (MS) MS 391 STIHL
€13,85 IVA inc.
Spedire a
*
*
Metodo di spedizione
Nome
Stima di spedizione
Costo
Stima Spedizione non possibile
+ -
5 Molla di ricupero
Ricambio Molla di ricupero Motoseghe a benzina (MS) MS 391 STIHL
€20,07 IVA inc.
Spedire a
*
*
Metodo di spedizione
Nome
Stima di spedizione
Costo
Stima Spedizione non possibile
+ -
6 Tamburo fune
Ricambio Tamburo fune Motoseghe a benzina (MS) MS 391 STIHL
€19,09 IVA inc.
Spedire a
*
*
Metodo di spedizione
Nome
Stima di spedizione
Costo
Stima Spedizione non possibile
+ -
7 Saltarello
Ricambio Saltarello Motoseghe a benzina (MS) MS 391 STIHL
€8,00 IVA inc.
Spedire a
*
*
Metodo di spedizione
Nome
Stima di spedizione
Costo
Stima Spedizione non possibile
+ -
8 Disco
Ricambio Disco Motoseghe a benzina (MS) MS 391 STIHL
€3,27 IVA inc.
Spedire a
*
*
Metodo di spedizione
Nome
Stima di spedizione
Costo
Stima Spedizione non possibile
+ -
9 Molla
Ricambio Molla Motoseghe a benzina (MS) MS 391 STIHL
€3,17 IVA inc.
Spedire a
*
*
Metodo di spedizione
Nome
Stima di spedizione
Costo
Stima Spedizione non possibile
+ -
10 Impugnatura
Ricambio Impugnatura Motoseghe a benzina (MS) MS 391 STIHL
€13,18 IVA inc.
Spedire a
*
*
Metodo di spedizione
Nome
Stima di spedizione
Costo
Stima Spedizione non possibile
+ -
11 Fune di avviamento diametro 3,5 mm x 30,5 m
Ricambio Fune di avviamento diametro 3,5 mm x 30,5 m Motoseghe a benzina (MS) MS 391 STIHL
€54,30 IVA inc.
Spedire a
*
*
Metodo di spedizione
Nome
Stima di spedizione
Costo
Stima Spedizione non possibile
+ -
11 Fune di avviamento diametro 3,5x960 mm
Ricambio Fune di avviamento diametro 3,5x960 mm Motoseghe a benzina (MS) MS 391 STIHL
€13,71 IVA inc.
Spedire a
*
*
Metodo di spedizione
Nome
Stima di spedizione
Costo
Stima Spedizione non possibile
+ -
11 Fune di avviamento diametro 3.5 mm x 60,8 m
Ricambio Fune di avviamento diametro 3.5 mm x 60,8 m Motoseghe a benzina (MS) MS 391 STIHL
€86,60 IVA inc.
Spedire a
*
*
Metodo di spedizione
Nome
Stima di spedizione
Costo
Stima Spedizione non possibile
+ -
12 Targhetta d ident. MS 391
Ricambio Targhetta d ident. MS 391 Motoseghe a benzina (MS) MS 391 STIHL
€10,77 IVA inc.
Spedire a
*
*
Metodo di spedizione
Nome
Stima di spedizione
Costo
Stima Spedizione non possibile
+ -
13 Vite per lamiera IS-P5x20
Ricambio Vite per lamiera IS-P5x20 Motoseghe a benzina (MS) MS 391 STIHL
€3,22 IVA inc.
Spedire a
*
*
Metodo di spedizione
Nome
Stima di spedizione
Costo
Stima Spedizione non possibile
+ -
15 Vite per lamiera IS-P4x12
Ricambio Vite per lamiera IS-P4x12 Motoseghe a benzina (MS) MS 391 STIHL
€2,68 IVA inc.
Spedire a
*
*
Metodo di spedizione
Nome
Stima di spedizione
Costo
Stima Spedizione non possibile
+ -
Scrivi la tua recensione
*
*
  • Pessimo
  • Eccellente